








GⅡCL型鼓形齿式联轴器
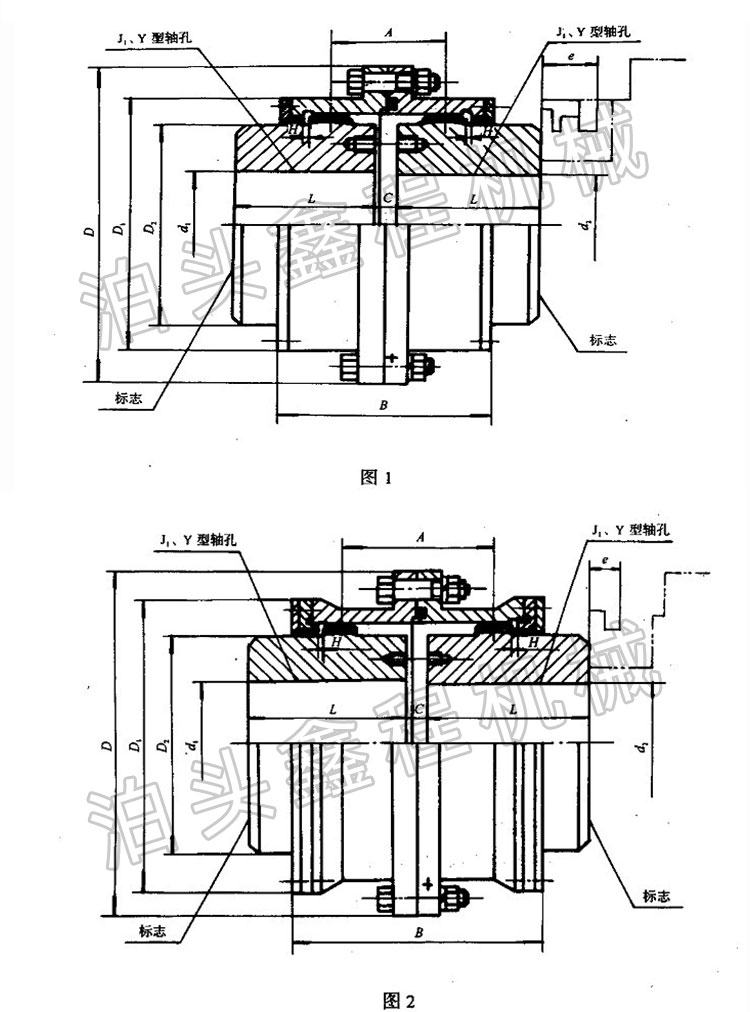
我公司生产的齿式联轴器,采用45#铸钢,圆钢或锻钢,齿部高频淬火,数控滚齿机擦齿机制齿,拉床制键槽,数控车床加工轴孔,保护质量,外观光洁度高,寿命长GⅡCL型基本型(窄型)鼓形齿式联轴器由两个有内齿的外壳和两个外齿的套筒所组成,套筒和轴用键联接,两个外壳用螺栓联成一体,外壳和套筒之间设有密封圈。内齿轮齿数和外齿轮齿数相等,通常采用压力角为20°的渐开线齿廓。工作时靠啮合的轮齿传递扭矩。由于轮齿之间留有较大的间隙,所以能补偿两轴的不同心和偏斜,为了减少轮齿的磨损和相对位移的摩擦阻力,在内部注入润滑油。齿式联轴器的角位移允许在30′。齿式联轴器具有径向、轴向和角向等轴线偏差补偿能力,具有结构紧凑、回转半径小、传递扭矩大、传动效率好、噪声低及维修周期长等优点。
联轴器动力
在选择联轴器时应根据选用者各自实际情况和要求,综合考虑上述各种因素,从现有标准联轴器中选取适合自己需要的联轴器品种、型式和规格。一般情况下现有的标准联轴器基本可以满足不同工况的需要。
由于动力机的驱动转矩及工作机的负载载矩不稳定,以及由传动零件制造误差引起的冲击和零件不平衡离心惯性力引起的动载荷,使得传动轴系在变载荷(周期性变载荷及非周期性冲击载荷)下产生机械振动,这将影响机械的使用寿命和性能,破坏仪器、仪表的正常工作条件,并对轴系零件造成附加动应力,。在设计或选用传递转矩和运动用的联轴器时,应进行扭振分析和计算,其目的在于求击轴系的固有频率,以确定动力机的各阶临界转速,从而算出扭振使轴系及传动装置产生的附加载荷和应力。信守合同时采用减振缓冲措施,其基本原理是合理的匹配系统的质量、刚度、阻尼及干扰力的大小和频率,使传动装置不在共振区的转速范围内运转,或在运转速度内范围不出现强烈的共振现象。另一个行之效果优良的方法是在轴系中采用高柔度的弹性联轴器,简称高弹(性)联轴器,以降低轴系的固有频率,并利用其阻尼特性减小扭振振幅。
{ysseo:fcity} [field:citytitle/] {/ysseo:fcity}





















